cogged lap joint

Joint family: lap (Blatt) Joining principle: rigid interlocks

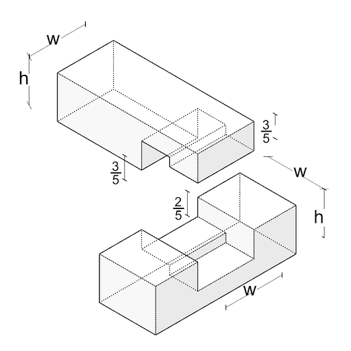
Opened joint

Closed joint

Closed joint with dimensions

Opened joint with dimensions

Description

The cogged lap joint is a hooked lap connection where a hook-shaped projection engages with a corresponding notch and provides additional bearing support. The connection belongs to the lap joint family and offers improved force transfer compared to simple lap joints.
This joint belongs to the broader family of lap connections and shows relationship to the tabled lap joint (Nakładka zazębiona) and the Japanese watari-ago. Comparable principles appear in hooked scarf joints with nibs.
The characteristic feature is the hook-shaped formation of one member that engages with a correspondingly shaped notch in the other member. The hook acts as additional bearing support and prevents lateral displacement. Unlike simple cross lap joints, only one member is weakened by half.
The cogged lap joint offers higher strength than simple lap joints through the additional bearing surface of the hook. The connection is more resistant to lateral forces and can transfer tensile stresses. The asymmetric weakening protects the main girder. Under larger forces, however, the hook can be sheared off, representing a structural weakness.
The mechanical function relies on the combination of lap joint and hook-shaped bearing support. The hook transfers transverse forces and prevents lateral displacement, while the lap surface absorbs compressive forces. The connection can transfer limited tensile forces.
The cogged lap joint finds traditional application in purlins, sills, and plates in roof and wall structures. In historical roof frames, it is used for beam connections and bracing. The connection is suitable for T-joints between main and secondary beams.
Manufacturing involves precise marking of the hook shape, careful sawing of the hook, and accurate chiseling of the corresponding notch. The fit accuracy between hook and notch is crucial for load-bearing capacity. Too small hook thickness leads to premature failure.
Variations include different hook shapes and sizes as well as combinations with additional tabling or wedging for further reinforcement of the connection.

Sources

Jasieńko, J. et al. (2014): Historical carpentry joints, Wiadomości Konserwatorskie, Journal of Heritage Conservation, S. 64, 67
Seike, K. (1977): The Art of Japanese Joinery, S. 113, 124 (Watari-ago)
Zwerger, K. (2015): Das Holz und seine Verbindungen, S. 88, 167 (halved and tabled)

Properties

Geometry of elements
  • rectangular
Geometry of joint
  • T-joint
Orientation of the cross-section
  • horizontal & vertical
Number of elements
2
Degrees of freedom
  • z-axis
Absorbable loads
  • x (pressure)
  • x (tension)
  • y (pressure)
  • y (tension)
  • z (pressure)
  • a (moment)
  • b (moment)
  • c (moment)
Number of assembly steps
1
Connector used
without connector
Traditional use case
  • Structural carpentry
  • Fine woodworking
Project reference
  • Traditional architecture
  • Construction elements
  • Furniture pieces

Related joints

Related joints

Manufacturing techniques